三菱打印机日常清洁保养
2023-07-31 16:10:27
admin
点击链接观看视频 https://weixin.qq.com/sph/AgO2Sl
1、每天关机后,请将纸屑仓内废纸屑倒掉。
2、定期清洁打印机机体表面以及周边环境,以避免灰尘等杂物进入机器内部。浮尘可能会粘附于打印头表面或者相纸、色带表面,造成打印出来的照片表面出现随机性的细小白点。
3、为避免由于积尘造成设备故障,每三个月或者每打印6000 张照片后,请清扫机器内部的。打印头、压纸滚轴、空气过滤器、墨盒、色带仓、相纸仓和相纸卷轴。清扫时务必先将打印机的电源切断。

4、使用吸尘器清洁打印机左右两侧的散热窗和滤网。
打印头清洁:
按压 OPEN 按钮拉出打印单元,取出墨盒,清洁打印头部分。如右图示,使用干净的无纺布沾少量酒精,轻轻擦拭打印头和剥离滚轴。
注: (1) 小心擦拭打印头,不要损坏打印头。
(2) 打印刚结束,不要清洁打印头,打印头冷却后再进行清洁。
(3) 身体不可接触打印头,防止身体带有静电,损坏打印头。
(4) 清洁剥离滚轴时,用力要适当,否则使剥离滚轴位置发生变化而影响打印质量。
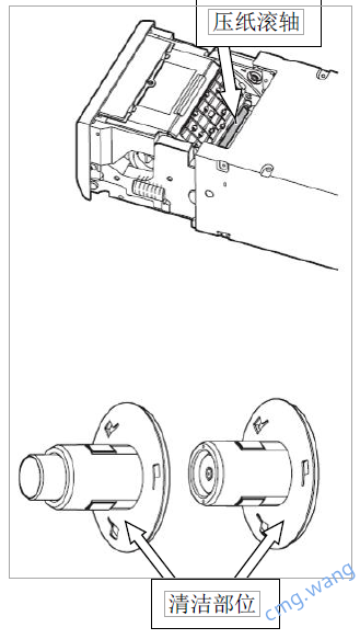
清洁压纸滚轴。如右图示,使用无纺布沾少量酒精擦拭轴的黑色部分。
拿出墨盒,清洁色带仓内的灰尘。
清洁相纸卷轴。如右图示,使用无纺布沾少量酒精擦拭与相纸卷摩擦的部分。
清洁相纸仓内的灰尘。
如您还有其他问题请拨打售后服务热线固话:0531-68961319,服务时间工作日:9:00-17:00